
Erfahrungen mit einem selbst gebauten, biologischen NitratfilterBedingt durch die
Aufzucht von jungen Diskusbuntbarschen in meinem (damaligen) 680 Liter
fassenden, dicht bepflanzten Wohnzimmeraquarium stieg der anfänglich
niedrige Nitratgehalt auf zuletzt bis zu 80 mg/l an. Dabei war zu
beobachten, dass Pflanzenblätter nicht mehr ihre ursprüngliche Größe
erreichten, die Blattabstände größer wurden und manche
Pflanzenarten regelrecht eingingen. Daneben traten verstärkt Pinsel-,
Bart- und Blaualgen auf. Da ich weder auf die
Haltung von Diskusfischen, noch auf die Pflege etwas anspruchsvollerer
Pflanzen verzichten wollte, beschloss ich einen auf die Beckengröße
zugeschnittenen biologischen Nitratfilter zu konstruieren und zu
bauen. Auslegung
Die optimale
Filterleistung eines Denitrators liegt zwischen 1/100 und 1/200 des
Nettobeckeninhaltes pro Stunde. Kleinere Durchsätze sind unter
Inkaufnahme einer etwas geringeren Abbauleistung möglich. Größere
Leistungen sind weder erforderlich noch ratsam, da insbesondere in der
Einfahrphase die Gefahr eines größeren Nitriteintrages in das Aquarium
besteht. Meine Anlage hat ohne
Bodengrund, inklusive Filter einen Netto-Wasserinhalt von 660 Litern.
Somit ist ein Durchsatz zwischen 660/200 = 3,3 l/h und 660/100 = 6,6 l/h
anzustreben. Ich habe 5 l/h gewählt. Für einen vollständigen
Abbau des Nitrates ist eine Verweilzeit des Wassers im Filter von ca. 6
Stunden erforderlich. Daraus errechnet sich das notwendige Filtervolumen
zu: 6
h x 5 l/h = 30 Liter Ein größeres Volumen
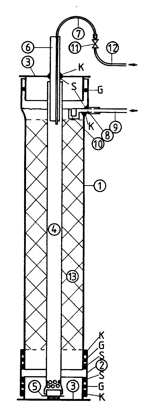
bringt keine Verbesserung. KonstruktionAls Filtergehäuse
eignet sich ein handelsübliches Abwasserrohr der Nennweite 200 mm, da
die Querschnittsfläche im Verhältnis zur durchströmten Länge relativ
gering ist. Das Rohr ist 1 m lang und unten mit Übersteckmuffe und
Blindstopfen verschlossen. Die Muffe enthält bereits 2 Gummidichtungen,
trotzdem verklebe ich das Gehäuse zusätzlich. Für die wasserberührten
Flächen verwende ich aquariengeeignetes Silikon, da dieses Material
erwiesenermaßen ungiftig ist. Die außenliegenden Flächen werden mit
PVC-Kleber ,,verschweißt", der eine hohe Festigkeit gewährleistet. Bei allen anderen
verwendeten Materialien ist zu prüfen, ob der PVC-Kleber die
Oberfläche
anlöst. Falls nicht, ist ein geeigneter 2-Komponentenkleber zu
verwenden. Nach meinen Erfahrungen ist PVC-Kleber für die Abwasserrohre
und die grüntransparenten Rohre aus dem Aquarienzubehör geeignet, für
die weißen Form- und T-Stücke jedoch nicht.
Der
Wasserinhalt des Filters und damit die Verweilzeit wird dann
entsprechend kürzer, der Filter müsste größer ausgelegt werden. Gut
geeignet sind dagegen möglichst grobe Watte oder Filterigel. Die Watte
ist locker einzubringen. Die Menge wird so bemessen, dass der Bereich
unten um die Bohrungen im lnnenrohr frei bleibt, da die Bohrungen sonst
verstopfen können. Ein mechanische Abtrennung dieses wattefreien
Teils ist nicht erforderlich, die Watte schwimmt nach Wasserfüllung
des Filters auf.
Verstopft das
Filtermaterial, kann der Filter über das Innenrohr überlaufen, ohne
dass Wasser nach außen tritt. Um eine Leckage auch für den relativ
unwahrscheinlichen Fall einer verstopften Rücklaufleitung auszuschließen,
kann an das Einlaufrohr eine Sicherheits-Überlaufleitung
angeschlossen werden, die direkt zum Becken zurückführt. Ich brauche
diese Leitung nicht, da ich die Leistung meiner Filterpumpe so
eingestellt habe, dass bei zugehaltener Rücklaufleitung der Wasserpegel
im Filter maximal bis 2 cm unter Oberkante Einlaufrohr steigt. InbetriebnahmeIst der Filter
angeschlossen und mit Wasser gefüllt, wird mittels des Regulierventils
die Durchflussmenge genau eingestellt. Dazu wird das zum Becken zurücklaufende
Wasser von einem Messgefäß aufgefangen und die Zeit gestoppt. Man
dividiert die Zahl 3,6 durch den gewünschten Durchlauf in l/h (hier 5
l/h), multipliziert mit dem Inhalt des Messgefäßes in ml (z.B. 100 ml)
und erhält die Zeit in Sekunden (hier 72 sek) in der das Gefäß voll
sein muss. Die Einstellung gelingt sicher nicht beim ersten Versuch, etwas
Geduld ist erforderlich. Im Zweifelsfall ist
der Durchfluss lieber etwas zu klein als zu groß zu belassen.
Bei z. B. 60 mg/I
Nitratgehalt heißt das: 5
l/h x 60 mg/l / 50 = 6 g/d Ein gestrichener Teelöffel
enthält 2 - 3 Gramm Stärke Natürlich können
statt Stärke auch die Bio Nip Tabletten der Fa. Sera aus dem
Zoofachhandel verwendet werden. Die Tabletten sind in der Handhabung
praktischer, eine Tablette entspricht etwa einem Gramm Stärke. Der Filter benötigt
nun 2 - 3 Wochen Einfahrzeit, um korrekt zu arbeiten. In dieser Zeit können
im Ablauf erhebliche Nitritgehalte auftreten. Diese sind unbedenklich,
solange der Nitritgehalt im Aquarium unter 0,2 mg/l bleibt (unbedingt
regelmäßig messen!). Werden mehr als 0,2 mg/l Nitrit gemessen, ist
die Durchlaufleistung des Nitratfilters vorübergehend auf die Hälfte
zu reduzieren. Enthält das
Ablaufwasser des Denitrators nach 3 Wochen noch mehr als 20 % des
Nitratgehaltes
des zulaufenden Wassers, ist die Bakterienfuttermenge zu gering oder der
Durchfluss zu groß (korrekte Filterauslegung vorausgesetzt). Entströmen
dem Filter oder dem Ablaufwasser unangenehme Gerüche
(Schwefelwasserstoff H2S, Geruch nach faulen Eiern) ist die
Futtermenge zu groß. Der Filter reduziert dann mangels Nitrat bereits
Schwefelverbindungen, um den angebotenen Kohlenstoff umzusetzen.
Versuchsweise kann auch die Durchflussmenge um 10 % angehoben werden. Arbeitet der
Nitratfilter korrekt, sinkt der Nitratgehalt im Becken im Verlauf der
folgenden Wochen kontinuierlich. Die Bakterienfuttermenge ist dann
entsprechend zu reduzieren. Wird in unserem Beispiel ein Nitratgehalt
von 10 mg/l erreicht, beträgt die erforderliche Stärkemenge nur noch
etwa 5 l/h x 10 mg/I / 50 = 1 g/d. BetriebserfahrungenIn meinem Aquarium
sank der Nitratgehalt von 80 mg/l auf 10 mg/I und darunter. Im Ablauf des Denitrators
ist kein Nitrat mehr messbar (Sera Test, Messbereich 0 - 40 mg/l). Der Pflanzenwuchs hat
sich insgesamt deutlich verbessert. Tigerlotus treibt große,
kurzgestielte
Blätter, Cryptocorynen wachsen wieder dicht, Stengelpflanzen haben kürzere
Blattabstände. Algen sind kaum noch zu sehen. Die roten Neons, die
vorher überwiegend tief im Pflanzendickicht standen, ziehen im Schwarm
durch das Becken. Die Diskusbuntbarsche haben größeren Appetit und
sind noch mal ein gutes Stück gewachsen. Das Wasser hat trotz
eher seltenerem Wasserwechsel seine Gelbfärbung verloren, das Becken
wirkt insgesamt heller. Der
Filter hat mehrere Jahre gut funktioniert und musste nicht gereinigt
werden.
Allerdings wurde er zeitweise ohne Zugabe von Stärke betrieben, wenn
der Nitratgehalt im Aquarium sehr niedrig war. Die Bakterienentwicklung im Filter ist allerdings enorm, das Material "verschleimt" geradezu. Der Grad der Verschleimung hängt von der Bakterienfuttermenge und damit von Nitratanfall im Aquarium ab. Das macht diesen Filter für hochbelastete Aufzucht- und Hälterungsanlagen möglicherweise weniger geeignet. Hier ist ein mit Essigsäure betriebener Filtertyp empfehlenswerter.
|